Why buy from us?
Lorem Ipsum is simply dummy text of the printing and typesetting industry.
Ask a Question About This Product
- Stock: In Stock
- Model: KOLAUT-HOP-20HP
- Weight: 1.00
- SKU: KOLAUT-HOP-20HP
Available Options
Efficiency and reliability are key considerations in the design of 20 hp hot oil pumps, as they are crucial for maintaining the overall efficiency of the industrial processes they support. The oil transfer pumps are equipped with features like thermal insulation and advanced sealing mechanisms to minimize heat loss and prevent leakage.
Features:
- Corrosion Resistance. Pumps used for hot oil applications are typically made from materials that resist corrosion, ensuring the longevity of the pump in harsh operating conditions.
- Robust Construction. Hot oil pumps are built to be robust and durable, with materials chosen to withstand the thermal stresses associated with high-temperature operations.
- Efficiency. Hot oil pumps are engineered for high efficiency to minimize energy consumption while effectively circulating the heat transfer fluid through the system.
Specification:
- Model: KOLAUT-RY80-50-250A
- Voltage: 380V
- Power: 20 HP (15 kW)
- Material: cast iron
- Head: 60m
- Flow Rate: 43 m3/h
- Speed: 2900 r/min
- Efficiency: 55%
- Motor: 160M2
- Seal Method: packing seal
- Working Temperature: -20 ℃ ~ 350℃
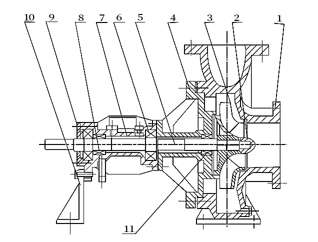
Structure:

| 1. Pump Casing | 2. Impeller Nut | 3. Impeller | 4. Pump Cover |
| 5. Pump Shaft | 6. Bearing | 7. Bearing Casing | 8. Oil-conducting Pipe |
| 9. Bearing's Press Cover | 10. Bear Frame | 11. Packing Seal |
Application:

Tips: How does prevent cavitation in a hot oil pump?
Cavitation in hot oil pumps can be prevented by ensuring proper design and maintenance. Use materials resistant to high temperatures and corrosive effects of oil. Maintain adequate inlet pressure to prevent vapor formation. Optimize pump speed and impeller design to minimize pressure differentials and turbulence. Regularly inspect and clean the pump to remove any debris or buildup that could impede flow. Employ anti-cavitation devices like inducers or diffusers if necessary. Additionally, monitoring temperature, pressure, and flow rates can help detect early signs of cavitation and take corrective actions promptly.